江南.体育(JN SPORTS)官方网站 _九游会网页
手机:13988888888
电话:0898-08980898
邮箱:admin@youweb.com
地址:海南省海口市
解决方案。我们突破高精设备局限,开发手工定制化仪器及配件,通过科研巧思将基础工具转化为创新实验方案。产品涵盖行为学装置、操作辅助工具等,使实验室在保持操作简效的同时,实现精细化数据采集,助力科研人员以创造性思维发掘简易仪器的潜在科研价值。
DSR模型(支配-顺从关系模型,Dominant-Submissive Relationship model),用于模拟人类的躁狂和抑郁,属于一大类用于测量动物通过社会互动形成等级关系的行为学模型的一部分。DSR模型的核心在于通过动物之间的社会竞争行为(如对食物资源的争夺)来建立稳定的支配-顺从关系,从而模拟人类情绪障碍中的社会行为变化。该模型具有较高的生态效度和药理学敏感性,尤其适用于评估影响社会行为和情绪状态的药物效果。
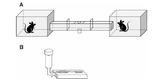
装置组成:两个Plexiglas室(尺寸为 12×8.5×7 cm),通过一个通道(尺寸为 2.5×2.5×27cm)连接。
通道设计:通道中央有一个小喂食盘,里面装有牛奶,每次只能容纳一只大鼠舒适地饮用。
这种装置通常用于研究大鼠之间的社会等级行为,尤其是支配行为与顺从行为之间的关系。通过让两只大鼠竞争有限的食物资源(牛奶),研究人员可以观察:哪只大鼠更占主导地位,频繁地获得进食机会;哪只大鼠表现出更多顺从或退缩行为;是否可以通过药物干预(如抗抑郁药)来减少顺从行为,提升社会互动能力。
使用体重在140-200克之间的Wistar或SD大鼠。动物们通常四只或五只一组饲养在一个笼子里。竞争中的两只大鼠总是在实验之间分开饲养。它们仅在每个工作日的5分钟测试期内见面。5分钟结束后,大鼠被分到不同的笼子里并给予1小时的自由进食时间。因此,在工作日期间,食物限制时间约为每天23小时。从周五下午测试结束后到周日下午再次进行食物剥夺前,大鼠可以自由进食。按照这种喂养计划,大鼠显示出正常的体重增长。
实验开始时,大鼠在最初的两天(周四和周五)分别单独放入装置中适应15分钟,适应环境和甜牛奶。接下来一周的周一,大鼠随机配对并记录每对大鼠在5分钟日常会话中花费在喂食器上的时间。每当一只大鼠喝牛奶的时间达到5秒,就会为其记一分。这种配对关系在整个研究过程中保持不变。周末结束时,如果一对大鼠的得分差异显著则认为它们建立了支配顺从关系。使用这种方法,大约80%的所有配对被选为具有支配顺从关系。在接下来的一周(5天),一组占主导地位的大鼠接受溶媒治疗,另一组接受药物治疗。这些实验中确定的支配顺从配对比率非常高,但许多在慢性实验中未能维持这种关系。
动物被随机分配到相同性别的配对中。行为测试在工作日每天进行一次,每次5分钟。周末暂停测试,但继续给药。行为测试包括将每对动物分别放入装置的相对隔室,并在喂食器中放置新鲜加糖牛奶。5分钟时间段被分为5秒间隔。每间隔内观察到饮用牛奶的动物得一分。每天测试后计算每个动物的饮水分数。第一周(5天)的数据很少显示明确模式,未被使用。第二周的数据来自每对成员,得分显著较低(P0.05)的成员被定义为顺从者,其配对伙伴为支配者。展示出这种关系的配对继续参与研究,而未表现出差异的配对则被淘汰。测试的大约一半配对发展出一种模式,其中一只动物始终得分高于另一只。药物治疗在第二周测试后的周六开始。一个支配顺从配对中的一员接受药物治疗(测试抗躁狂药物时选择支配者,测试抗抑郁药物时选择顺从者)。
脑声常谈建立了多个《动物模型构建与行为评估》交流群,群内分享各种经典和前沿的行为范式,共同交流解决动物实验中遇到的棘手问题,避坑少走弯路!有需要的老师可以扫码添加微信进入讨论群!
1. 进食时间(Feeding Time, FT):测量每对动物在每日5分钟测试期内的进食时间,单位为总秒数。一只大鼠最多可以在喂食器上停留300秒。
2. 支配水平(Dominance Level, DL):用于衡量配对动物之间的社会关系。
支配水平计算公式为:DL = FTD − FTS,其中FTD为支配大鼠的进食时间,FTS为顺从大鼠的进食时间。
为了便于不同处理组之间的比较,将数据标准化为初始(第二周实验)的DL值。
判断对照组(配对中支配和顺从大鼠均接受载体治疗)与实验组(顺从大鼠接受药物治疗,支配大鼠接受溶媒治疗)之间支配水平差异的统计显著性。
基本的测试装置保持不变,观察系统进行自动化升级即在每天5分钟的测试期间,通过视频追踪软件记录每只大鼠在喂食器区域停留的时间。摄像头通过大鼠头部不同颜色的染料来区分个体:一组中的一笼染成红色,另一笼染成黄色。在竞争测试中,红色头部的大鼠总是与同编号的黄色头部大鼠配对,例如红头#1A与黄头#1A配对。
比较自动化视频追踪系统与传统人工观察评分法在DSR实验中的应用,发现两者所得结果虽然相似,但并不完全一致。人工评分主要记录的是动物真实的进食时间,而视频追踪系统则记录大鼠在喂食器区域的停留时间。在人工评分中,通常观察到当顺从鼠的进食时间增加时,支配鼠的进食时间相应减少,这是因为两只大鼠很难同时进食;而在自动评分中,支配鼠仍倾向于停留在喂食器区域,顺从鼠的停留时间则显著增加,导致两者得分趋于接近。也进一步说明:动物对之间的支配水平比单一动物的行为变化更能准确反映药物的作用效果。
特别声明:以上内容(如有图片或视频亦包括在内)为自媒体平台“网易号”用户上传并发布,本平台仅提供信息存储服务。
【紫牛头条】铁皮屋里背娃写作的作家登上热搜,余华称其奋斗经历像现实版《活着》
“让乘龙卡车卷入舆情实属无心之举”!刚刚,理想汽车和中国汽研先后回应碰撞测试
奶粉、纸尿裤涨价?品牌店铺称促销力度不同致价格波动,专家:母婴行业价格体系混杂
从“成分模拟”到“结构复刻”!这家外资深耕中国科研,中国母乳脂质研究有了突破性成果
PS+会员免费领《匹诺曹的谎言》 / 《四海兄弟:故乡》发售 下周玩什么
台电“高端平板电脑”ArtPad Pro 规格公布:联发科 G99 + 8G RAM
